GROHE
Discontinued
Parkfield® View Collection

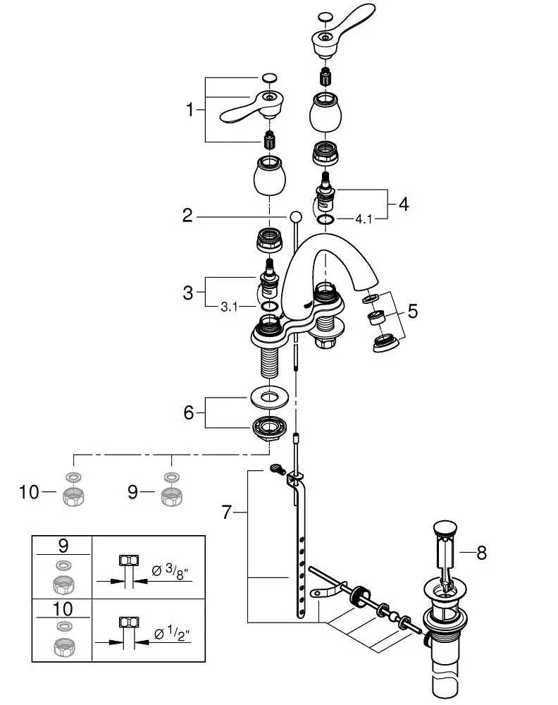
4" Centerset 2-Handle Bathroom Faucet - 5.7 L/min (1.5 gpm)

Model: 20391EN0
  • 3-hole installation
  • GROHE EcoJoy - Save resources and enjoy 1% water comfort
  • GROHE StarLight - Scratch and tarnish-resistant finish
List price: $325.00
  • GROHE SilkMove — advanced ceramic cartridge delivers a lifetime of ultra-smooth operation and precise control of the water temperature and volume
  • GROHE StarLight — a flawless, robust, long-lasting designed to be extremely resistant to dirt and scratches
  • GROHE EcoJoy — reduces water consumption by up to 50 percent
  • Solid brass body
  • Metal lever handles
  • Includes drain assembly
  • Max. Flow Rate: 1.2 gpm - 4.5 L/min
  • 6-9/16 in. Faucet height
  • 5-1/16 in. Spout reach
Technical Specifications
Fitting Connection Size 12.70 mm
Fitting Handle Type Lever
Flow Rate 1.2 gal (US)/min
Other Specs
Dangerous Goods Regulations N/A
Warranty Limited Lifetime Warranty

Compare Products

Products
Color/Finish
List Price

Compare Products

Products
Color/Finish
List Price